根据上述第一节电磁离合器所述的磁轭7,其特征在于:
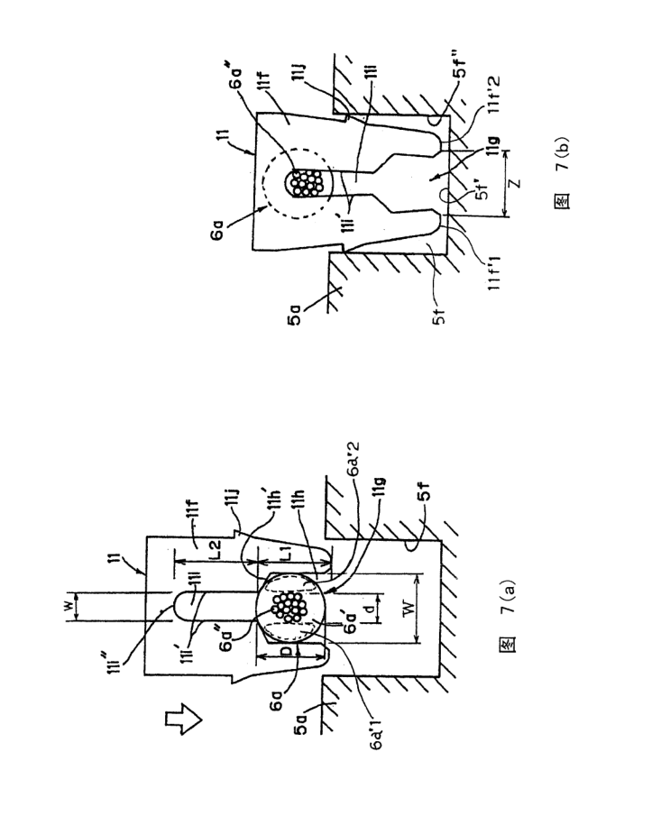
1.所述触头元件11为平行六面体形,其包括一个上板11a、一对相互面对且每个都具有所述第一切缝11g的第一板11f和一对相互面对且每个都具有所述第二切缝11d和所述第三切缝11e的第二板11c,其中,在第一侧板11f的两个侧面上都设有凸起11j。
2.根据设计要求1所述的磁轭7,其特征在于:
所述触头元件11为平行六面体形,其包括一个上板11a、一对相互面对且每个都具有所述第一切缝11g好第一板11f和一对相互面对且每个都具有所述第一切缝11g的第一板11f和一对相互面对且每个都具有所述第二切缝11d好所述第三切缝11e的第二板11c,其中,所述第一切缝11g包括宽的部分11h、窄的部分11i好连接上诉宽的部分和窄的部分的倾斜部分11h。
3.根据设计要求2所述的磁轭7,其特征在于:
上述宽的部分11h的宽度W和深度L1和所述窄的部分11i和深度L2大于所述外部导线6a的直径D,所述窄的部分11I的宽度w小于所述外部导线6a的芯部导线6a的直径d。
4.根据设计要求2所述的磁轭7,其特征在于:
所述宽的部分11h包括多个倾斜部分11h‘’和多个竖直部分11h''.
5.根据设计要求2所述的磁轭7,其特征在于:
在所述窄的部分11i的端部边缘11i区域设有圆形延伸的空间11k。
6.根据设计要求2所述的磁轭7,其特征在于:
在所述窄的部分11i的两个侧边11i'上都设有锯齿11m。
7.根据设计要求2所述的磁轭7,其特征在于:
在所述端部边缘11i''设有向所述切缝11g的入口伸出的齿11n。
8.根据设计要求2所述的磁轭7,其特征在于:
在所述窄的部分11i的入口处设有一对相向伸出的凸起11p。

更多电磁离合器信息请关注锋涵机电http://www.shfhjd.com