本发明由于采用半波整流,而当电源断电时,不会产生续流作用,减小了电磁惯性,提高了电磁铁动作的灵敏度。另外,由于本发明的三相交流电源中的一相由安装在制动器上的行程开关控制通断,因而可使制动器电磁铁实现强磁起动、弱磁保持,使电磁线圈小电流、低发热,进而达到电磁铁动作灵敏度高,电磁线圈使用寿命长、节电的目的。本发明可安装在现有的直流电磁块式制动器上,利用原接线盒位置,将接线盒略加大一点即可,使原来的直流制动器变成三相交流制动器,安装使用极为方便。
(四)附图说明
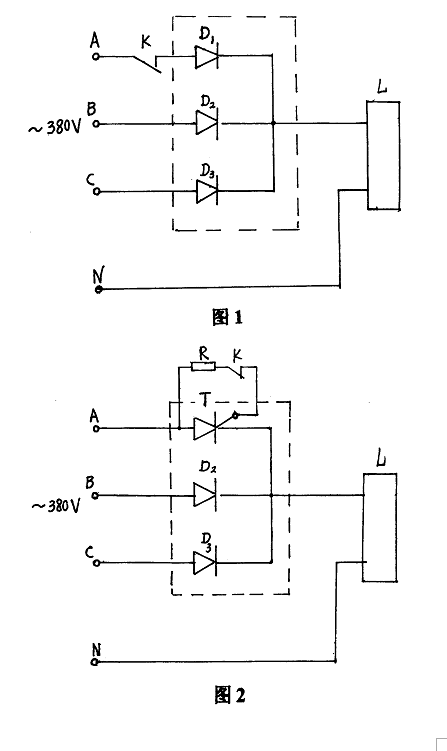
图1是本发明第一种实施例的电路原理图。
图2是本发明第二种实施例的电路原理图。
(五)具体实施方式
实施例一
请参见图1,一种电磁块式制动器整流控制电源,包括三个整流二极管D1、D2、D3。三个整流二极管D1、D2、D3的正极或负极一端连接在一起,并引出一输出端,该输出端经制动器的电磁线圈L接电源的领先N。三个整流二极管D1、D2、D3的另一端分别接三相电源的输入端,其中A相串接一常闭行程开关K,使A相电源的通断由行程开关K控制,行程开关K安装在制动器的动臂之间。
实施例二
请参见图2,实施例二与实施例一基本相同,其不同之处是用行程开关K控制一硅闸流管开关T的控制极。行程开关K的一端经电阻R接A相,其另一端接硅闸流管开关T的控制极。硅闸流管开关T直接控制三相电源的A相,同时又作为整流二极管使用。在相电流较大时可采用本实施例二。
